解决方案
高压变频器在螺杆式空压机节能改造中的应用
1引言
登封市君鑫煤业有限责任公司位于登封市石道乡上沃村境内,距登封市区30公里,交通便利。井田面积6.58平方公里,地质储量3181万吨,设计生产能力30万吨/年。君鑫煤业2009年获得河南省工业和信息化厅颁发的“一级安全质量标准化矿井”;2010年获得郑州市总工会、郑州市工业和信息化委员会、郑州市环境保护局颁发的“双比双降”节能减排竞赛先进单位;2011年获得郑州市煤炭管理局、郑州市煤炭行业协会颁发的“郑州市煤炭工业先进企业”。
君鑫煤矿压风机房内安装两台62m3/min压风机,供生产、各采区工作面。由于压风机选型裕量大,存在着大马拉小车的现象,浪费严重,而且设备控制方式落后,为响应国家号召和社会发展的需要,矿领导决定对原有设备进行升级改造。经过多方调查研究,决定选用山东新风光电子科技发展有限公司生产的JD-BP38-400F型高压变频器2套分别对2台螺杆式空气压缩机进行节能改造。
电机基本参数:
型号:Y4505-2 额定电压:10kV 额定电流:25.2A
额定功率:355kW 额定频率:50Hz 额定转速:2960r/min
压缩机参数:
型号:SA350W-6K-T 排气量:62.0 m3/min 电机功率:355kW
额定排气压力:0.8MPa
2螺杆式空压机
2.1螺杆式空气压缩机工作原理
螺杆式空气压缩机由螺杆机头、电动机、油气分离桶、冷却系统、空气调节系统、润滑系统、安全阀及控制系统等组成。螺杆压缩机的工作循环可分为进气,压缩和排气三个过程。随着转子旋转,每对相互啮合的齿相继完成相同的工作循环。
(1)进气过程:转子转动时,阴阳转子的齿沟空间在转至进气端壁开口时,其空间较大,此时转子齿沟空间与进气口的相通,因在排气时齿沟的气体被完全排出,排气完成时,齿沟处于真空状态,当转至进气口时,外界气体即被吸入,沿轴向进入阴阳转子的齿沟内。当气体充满了整个齿沟时,转子进气侧端面转离机壳进气口,在齿沟的气体即被封闭。
(2)压缩过程:阴阳转子在吸气结束时,其阴阳转子齿尖会与机壳封闭,此时气体在齿沟内不再外流。其啮合面逐渐向排气端移动。啮合面与排气口之间的齿沟空间渐渐件小,齿沟内的气体被压缩压力提高。
(3)排气过程:当转子的啮合端面转到与机壳排气口相通时,被压缩的气体开始排出,直至齿尖与齿沟的啮合面移至排气端面,此时阴阳转子的啮合面与机壳排气口的齿沟空间为0,即完成排气过程,在此同时转子的啮合面与机壳进气口之间的齿沟长度又达到较长,进气过程又再进行。
从上述工作原理可以看出,螺杆压缩机是一种工作容积作回转运动的容积式气体压缩机械。气体的压缩依靠容积的变化来实现,而容积的变化又是借助压缩机的一对转子在机壳内作回转运动来达到。
2.2螺杆式空气压缩机的缺点
空压机在运行过程中,根据压力罐检测到的压力大小,控制阀门进行加载和卸载控制,确保压力罐压力在0.65MPa到0.75MPa之间波动,保证井下拥有足够的气源;在采用工频方式启动时,主要有以下缺点:
(1)启动电流仍然很大,直接影响电网的稳定性与其它用电设备的运行安全;
(2)空压机时常出现空载运行,电能浪费严重,处于非经济运行状态;
(3)启动时对设备的冲击较大,一些部件的动作频率高(如电磁阀等),导致设备后期维护费用高;
(4)工频运行,设备噪音大。
2.3 变频改造必要性
通过改变压缩机的转速来调节流量,而阀门的开度保持不变(一般保持最大开度)。当压缩机转速改变时,供气系统的供气量发生变化,而管网压力保持基本不变。
高压交流变频调速技术是上世纪九十年代迅速发展起来的交流电动机的调速技术,其技术和性能胜过其它任何一种调速方式。变频调速以其显著的节能效益、高精确的调速精度、宽范围的调速、完善的保护功能,以及易于实现的自动通信功能,得到了用户和市场的认可,在运行的安全可靠、安装使用、维修维护等方面,也给使用者带来了极大的便利,使之成为企业采用电机节能方式的首选方案。
在这种控制方式下,通过变频调速技术改变压缩机电机的转速,压缩机的供气流量可随着用气流量的改变而改变,达到真正的供需平衡,在节能的同时,也可使整个系统达到较佳工作效率。
3风光JD-BP38系列高压变频调速系统介绍
风光牌JD-BP38系列高压变频器以高速DSP为控制核心,采用无速度矢量控制技术、功率单元串联多电平技术,属高-高电压源型变频器,其谐波指标小于IEE519-1992的谐波国家标准,输入功率因数高,输出波形质量好,不必采用输入谐波滤波器、功率因数补偿装置和输出滤波器;不存在谐波引起的电机附加发热和转矩脉动、噪音、输出dv/dt、共模电压等问题,可以使用普通的异步电机。具体来说,风光高压变频调速系统各部分介绍如下。
3.1总体结构
采用直接高压变频电路结构,功率单元多重化连接,直接输出到高压电机,提供驱动电压。从物理结构上分为控制柜,功率柜,变压器柜三大部分,根据现场工艺要求还可选配旁路柜,上位机,远控盒,结构如图1所示。

图1 高压变频器外形
3.2控制柜
变频控制柜主要有主控(CPU)、UPS、PLC、人机界面、控制电源开关、开关电源、继电器、避雷器、信号隔离器、接线端子,柜门操作按钮等部分构成,控制柜主要构成部分介绍如下。
(1)主控系统
主控系统为变频器的核心,它接收和处理来自上位控制及PLC的控制命令,产生每相各级功率单元的控制信号,同时采集和处理所有故障单元反馈回来的故障信息。新风光JD-BP38系列变频器采用高性能的主控系统,控制器采用32位DSP,运行速度可以达到150MIPS,足够完成一些较复杂的控制算法。同时其有6路独立的PWM输出、2个异步串行通讯口、16通道12位AD输入,内置了36k的RAM和256k的Flash存储器,可以存放较大规模的程序。线路板采用大规模集成电路和表面焊接技术,系统具有极高的可靠性。
(2)不间断电源UPS
UPS不间断电源,安装在控制柜的底部,属于纯在线式,当外部提供的控制电源220VAC正常时,UPS提供给控制系统稳定的220V电源,当外部电源掉电时,利用设计的电源冗余系统,相应的控制电继电器动作,转到变压器的二次绕组220V继续提供控制电源,UPS不间断工作,提供稳定的电源。只有当控制电和高压电同时掉电后,UPS利用自身的电池可继续给系统供电30min,同时变频器给出报警信号,用户应尽快恢复控制电源。
(3)内置PLC
变频器通过内置PLC实现内部开关信号以及现场操作信号和状态信号的逻辑处理,增强了变频器现场应用的灵活性。对开关量的数量不能满足要求时,可以用数字量扩展模块来实现。PLC作为一种技术成熟的工业控制元件,为变频器的现场应用提供灵活的接口和可靠性保证。
高压变频器的控制系统标准接口如图2所示:

3.3 功率柜
功率柜主要用于安装功率单元,实现单元的串联叠加三相输出。功率单元是使用功率电力电子器件进行整流、滤波、逆变的高压变频器部件,也是构成高压变频器主回路的主要部分。每个功率单元都相当于一台交-直-交电压型单相低压变频器。每个功率单元由H桥构成,输出一组SPWM波,每相8个单元,通过叠加输出一组17个电平的正弦波;同一相中的每个功率单元的采样频率一致,用同一个载波进行调制,载波相差1/N个采样周期。
当功率单元出现过流、过压故障时,变频器立即封锁该单元的输出,通过软件控制,使功率单元输出电流可以经全桥逆变电路上桥臂,或者下桥臂形成电流回路实现将该单元旁路。
功率柜顶部配置冷却风机,选择德国EBM的风机,由移相变压器二次检测绕组220V供电,通过断路器由PLC控制功率柜风机的启动,当变频器启动频率运行时,风机启动。
3.4 变压器柜
变压器柜主要由移相变压器、温控仪、冷却风机等部件构成。
移相变压器的原理:将高压电源变换为副边相互绝缘的多组低压,各副边绕组在绕制时采用延边三角形的接法,相互之间有一定的相位差。移相变压器示意图如图3所示。

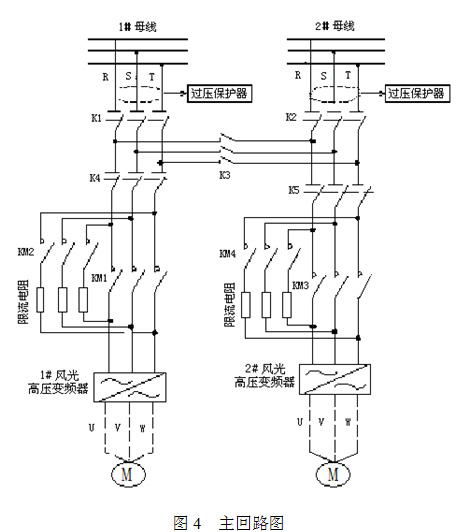
4空压机变频改造主回路
根据现场要求,此系统采用双电源一用一备两套变频器,如图4所示。

本系统采用一用一备两台空气压缩机,1#、2#变频器分别控制一台空气压缩机,这样1#系统与2#系统互为备用,保证系统安全正常运行。
此系统采用双回路电源供电,1#母线与2#母线分别来自两个不同的变压器电源。K3为母线联络刀闸,当1#或者2#电源其中任何一路电源断电的情况下,K3刀闸闭合,使得1#、2#变频器供电电源正常。K1、K2为两台高压隔离开关,为确保1#、2#电源不发生短路,K1、K2、K3采用电磁互锁操动机构,实现电磁和机械互锁。K4、K5为两台高压隔离开关,分别向1#、2#变频器供电。K1、K4闭合,K2、K3、K5断开,1#母线供电,1#变频器运行;K1、K3、K4断开,K2、K5闭合,2#母线供电,2#变频器运行。
1#变频器与2#变频器互为备用,当其中一台变频器故障时,两外一台变频器迅速投入运行。此时故障变频器从高压中隔离出来,便于检修、维护和调试。
另外,为了保证安全,变频器高压连跳信号和上一级的高压断路器也实现互锁,变频器高压连跳串入上一级高压断路器的脱扣线圈,变频器出现故障时,上一级的高压断路器断开,实现高压故障连跳功能。
5 空压机变频系统控制原理及主要参数设置
5.1空压机变频控制原理
在管道供气系统中,最基本的控制对象是流量,供气系统的基本任务就是要满足用户压力需求情况下对流量进行调节的需求。所以,保持管道中的气压恒定,保证该处供气能力恰好满足用气需求,这就是恒压供气系统所要达到的目的。
空气压缩机采用变频调速技术进行恒压供气控制时,系统原理框图如图5所示。

变频器将管网压力作为控制对象,装在储气管出气口的压力变送器将储气罐的压力转变为4~20mA电信号送给PID调节器,与压力给定值进行比较,并根据差值的大小按既定的PID控制模式进行运算,产生控制信号去控制变频器的运行频率,从而调整电动机的转速,那么空压机输出相应的压缩空气至储气罐,使之压力变化,直到管网压力与给定压力值相同,从而使实际压力始终维持在给定压力。
5.2变频器主要参数设置
使用前,需对变频器的以下功能进行预置:
(1)PID设定,PID设定通道设为:0,HMI,即变频器压力闭环设定通过通信给定;PID反馈通道设为:1,AI2,即变频器闭环压力反馈通过主控板的AI2端子给定;PID结构为2,比例+积分,PID控制比例增益和积分增益同时起作用;P取0.50,I取10.0s。
(2)上限频率,由于空气压缩机的转速一般不允许超过额定值,故?H≤?N,式中 ?H—设置上限频率,?N—额定频率,?H这是取50Hz。
(3)下限频率,空气压缩机采用变频调速后,其下限频率的预置要视压缩机的机种的工况而定,一般说来,其范围约为30Hz≤ƒL≤40Hz,式中ƒL—设置下限频率,这里取30Hz。
(4)加、减速时间,空气压缩机有时需要在储气罐已经有一定压力的情况下启动,这时通常要求快一点加速,故加速时间应尽可能缩短(以启动过程不因过电流而跳闸为原则);减速时间可参照加速时间进行预置(以制动过程不因过电压而跳闸为原则),变频器设置上升、下降时间为60s。
(5)升、降速方式,空气压缩机对升、降速方式无特殊要求,可设置为线性方式。
用户现场需求压力为0.70Mpa。当用户用气量减少,储气罐压力将上升,此时变频器频率将下降。但是,由于变频器下降到目标频率需要几秒钟时间。这段时间内,空压机继续做功,储气罐压力将继续上升到0.75Mpa,反之,当用户用气量增加时,几秒钟内储气罐压力将会下降到0.65Mpa。这样同样会造成空压机频繁加载、卸载。根据现场情况,设置空压机卸载界限为0.75Mpa,加载界限为0.65Mpa,也就是说当储气罐压力在0.65~0.75Mpa范围内,空压机不需要加载、卸载,而是由变频器调节电机转速,那么空压机输出相应的压缩空气至储气罐,使之压力变化,直到管网压力与给定压力值相同,从而使实际压力始终维持在给定压力。
6 空压机变频改造后的效果
在实际运行中,我们比较了改造前后的运行情况:改造前,空气压缩机经常是加载卸载,加载运行时电流为25A,卸载运行时电流为12A,改造后,空气压缩机运行频率常在41Hz左右,运行电流为15~22A,基本没有卸载时间。这样节省大量的电能,延长了设备的使用寿命。该系统于2013年5月28日安装调试完毕,并且安全运行到至今。
(1)节约能源使运行成本降低
通过变频技术改造后空压机运行成本降低20%,再加上变频起动后对设备的冲击减少,维护和维修量也跟随降低,所以运行成本将大大降低。通过测算,运行一年节约的成本费用就可以收回改造的投资。
(2)提高压力控制精度
变频控制系统具有精确的压力控制能力。使压缩机的空气压力输出与用户空气系统所需的气量相匹配。变频控制压缩机的输出气量随着电机转速的改变而改变。由于变频控制电机速度的精度高,可以使管网的系统压力保持基本恒定。
(3)全面改善压缩机的运行性能
变频器软启、软停止,从而减少对压缩机的电气部件和机械部件所造成的冲击,增强系统的可靠性,使压缩机的使用寿命延长。变频调速改造后,电机运转速度明显减慢,从而有效地降了空压机运行时的噪声。现场测定表明,噪声与原系统比较平均下降约10dB。
7结束语
山东新风光电子科技发展有限公司生产的JD-BP38-400F型高压变频器在登封市君鑫煤业公司空压机投运以来,其性能稳定、节能效果明显,可以根据井下用风量的多少进行调节空压机转速,提高了空压机运行的经济性。
在煤矿的压风系统中应用高压变频器节能改造,是国家大力提倡节能降耗不可缺少的技术手段。除此之外,变频器对空压机的稳定运行也起着重要作用。高压变频器越来越广泛地应用在电力、冶金、石化、水泥、矿山等高压电机驱动的各个行业。